If you are having a hard time accessing the Openid Connect Authorization Code Flow Refresh Token page, Our website will help you. Find the right page for you to go to Openid Connect Authorization Code Flow Refresh Token down below. Our website provides the right place for Openid Connect Authorization Code Flow Refresh Token.


https://stackoverflow.com › questions
I am a little curious to know about how OpenID authentication works Is there any difference between OpenID authentication and the authentication which sites use exclusively for

https://stackoverflow.com › questions
With OpenID a user login is usually an HTTP address of the resource which is responsible for the authentication On the other hand SAML is based on an explicit trust between your site and

https://www.zhihu.com › question
3 openid code2Session code openid 4 openid openid

https://stackoverflow.com › questions
Getting 404 on callback URI from OpenID Connect Asked 8 months ago Modified 8 months ago Viewed 364 times

https://stackoverflow.com › questions
I want to host my own openid configuration discovery file Since this file is served while running the OIDC workflow I want to verify what is the correct way to host this file

https://stackoverflow.com › questions
OAuth 2 0 defines state parameter to be sent in request by client to prevent cross site request attacks Same is mentioned in OpenID spec for nonce Apart from the fact that nonce is
https://stackoverflow.com › questions
We are not interested in using Keycloak s own client library we want to use standard OAuth2 OpenID Connect client libraries as the client applications using the keycloak server will be

https://stackoverflow.com › questions
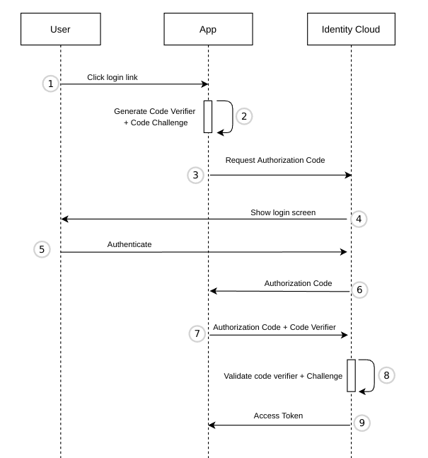
I have an ASP NET MVC application that needs to integrate OpenID Connect authentication from a Private OpenID Connect OIDC Provider and the flow has the following steps
Thank you for visiting this page to find the login page of Openid Connect Authorization Code Flow Refresh Token here. Hope you find what you are looking for!